English

大学案内

運営組織

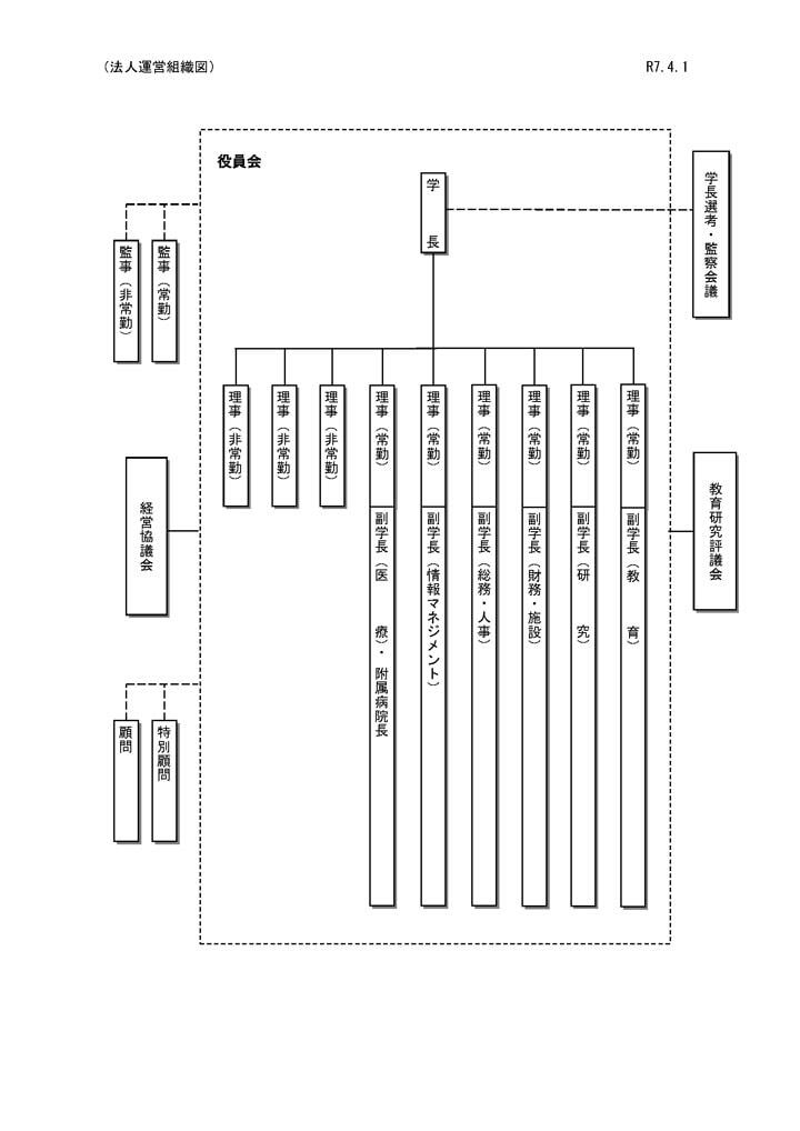
法人運営組織

国立大学法人法の規定により、国立大学法人筑波大学は、役員として、その長である学長、学長を補佐して法人の業務を掌理する理事9名(非常勤2名を含む。)及び法人の業務を監査する監事2名(非常勤1名を含む。)により構成されています。
また、同法の規定により、法人の重要事項を決定する役員会、学外有識者の見識を大学経営に直接反映するため、構成員の半数以上を学外委員とする経営協議会、役員、教育研究上の重要な組織の長等で構成する教育研究評議会、経営協議会の学外委員の代表者と教育研究評議会の評議員の代表者で構成する学長選考・監察会議を置いています。


印刷用PDF

法人運営組織

大学運営組織

筑波大学は、平成16年4月の国立大学法人化を契機に、組織を一層活性化し、優れた教育や特色ある研究に積極的に取り組めるようにするため、運営方法及び運営組織を大幅に見直しました。
「本部」は、教育研究の基本事項の策定、部局間の調整、各部局への資源配分、助言・支援など戦略的業務に重点を置いています。「教育研究組織」は、教育研究の実施にあたって、教員が教育研究活動に専念できるように、柔軟かつ自律的な運営を行っています。


印刷用PDF

大学運営組織図